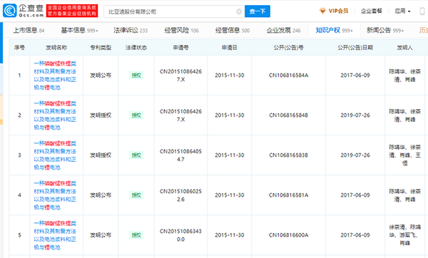
“最近資本熱炒的磷酸錳鐵鋰實際上幾年前比亞迪曾研究過,但在磷酸錳鐵鋰方面實力誠如比亞迪,也沒搞出什么名堂。不知道這一次,大家在熱議的磷酸錳鐵鋰會否真的具備產業化能力。”小編在向一業內人士咨詢有關磷酸錳鐵鋰(LFMP)電池時,該人士如是回答道。

小編查詢相關專利發現,比亞迪2013年就曾申請過相關專利,2015年連續申請了多款磷酸錳鐵鋰專利,但是后面就再沒有相關消息。直到2020年祭出磷酸鐵鋰“刀片電池”后,比亞迪似乎并沒有繼續在磷酸錳鐵鋰這條道路上走得更遠。
磷酸錳鐵鋰,磷酸鐵鋰“升級版”?
磷酸鐵鋰憑借成本低廉、安全性高、循環壽命好,目前已經逆襲三元電池,再度成為新能源汽車主流電池。數據顯示,今年8月中國市場磷酸鐵鋰電池產量約為11.1GWh,占中國市場電池總產量56.9%;1-8月,磷酸鐵鋰電池產量約為58.1GWh,占電池總產量的52.1%。
刀片電池、CTP等技術工藝使得磷酸鐵鋰的系統集成效率、能量密度有所提升,可以不斷滿足中高端電動車型的使用,但是從磷酸鐵鋰材料本身來看,欲突破能量密度等性能的“天花板”并不是件容易的事。近期,磷酸錳鐵鋰電池技術被不少人看作是磷酸鐵鋰的“Plus版”,引發關注。
之所以磷酸錳鐵鋰被認為是磷酸鐵鋰的升級版,主要是體現在能量密度上可以繼續提升。
理論上看,磷酸錳鐵鋰,相較于磷酸鐵鋰,擁有更高的電壓平臺,磷酸錳鐵鋰電壓可以達到4.1V左右,而磷酸鐵鋰在3.4-3.5V左右,兩者有著相同的理論克容量,因電壓更高,因此在相同條件下,磷酸錳鐵鋰理論能量密度比磷酸鐵鋰高15-20%。這一點與目前單晶中鎳高電壓三元材料類似,通過單晶高電壓提升能量密度,同時擁有中鎳材料的高安全性和低成本。
另外,磷酸錳鐵鋰制備工藝與現有磷酸鐵鋰生產體系區別不大,主要需要通過包覆、摻雜、納米化等改性技術來解決其電導率較低的問題,兩者成本無明顯差異。

據業內人士介紹,真正從技術上來看,磷酸錳鐵鋰并不是完全的新技術,在磷酸鐵鋰材料出來后,就曾有電池廠商根據不同配方進行改進,比如前述的比亞迪就是其一,但是其導電性、循環壽命等短板,令大多數企業在前幾年望而卻步。
此外,2015年左右,我國新能源汽車財政補貼與動力電池能量密度直接掛鉤,當時磷酸鐵鋰相較于三元電池在能量密度上劣勢明顯,大部分車企、電池廠家直接將目光聚焦在三元電池領域,磷酸鐵鋰受到冷落,關于磷酸錳鐵鋰的研究也同樣隨之減少。
可以看出,隨著磷酸鐵鋰電池因經濟性、安全性、壽命等方面的優勢受到關注,再成主流,因而在能量密度、安全性、經濟性上同樣有優勢的磷酸錳鐵鋰,就被很多人認為是磷酸鐵鋰的主要升級方向。
不過,就其導電性、倍率、循環壽命方面的短板,還是需要看得見的技術改善才能使其有大規模應用的可能。另外,原料電池級硫酸錳制備難度較高,品質參差不齊,也是一個需要突破的瓶頸。
磷酸錳鐵鋰在小動力領域已有應用
“此前,新能源汽車政策補貼與能量密度掛鉤,因此能量密度較低的磷酸鐵鋰、磷酸錳鐵鋰并不是很受歡迎。但在不受補貼影響的電動自行車領域,企業和用戶更關心性能,磷酸錳鐵鋰也成為企業研究的重點材料之一。”星恒電源電池工程院院長趙成龍表示,星恒電源已在磷酸錳鐵鋰的復合技術上有長期研究和應用經驗,比如將錳酸鋰和磷酸錳鐵鋰混摻,使電池的低溫、安全、循環等性能有不錯的提升。
不過,趙成龍同時也表示,預計在未來的兩三年內,磷酸錳鐵鋰仍以混合使用為主。
磷酸錳鐵鋰的復合使用,也同樣出現在三元材料上。據業內人士介紹,通過使用磷酸錳鐵鋰包覆三元材料,可以改善三元材料的安全性能、低溫性能及成本,從而拓寬了三元材料本身的應用場景。事實上,目前部分電動兩輪車、電動工具等場景的使用即是如此。
磷酸錳鐵鋰單獨使用前景如何?
不可否認,目前磷酸鐵鋰因在經濟性、安全性等方面具有優勢,已經成為新能源汽車的主流電池,但高端車型仍然偏愛三元電池,尤其是高鎳三元已經明確是未來三元電池的主要發展方向。
磷酸錳鐵鋰之所以受到關注,主要是其能量密度要較目前的磷酸鐵鋰高出15%左右,但也只與NCM523接近,與高鎳三元電池的差距則非常明顯。
當下,目前磷酸錳鐵鋰僅相較于磷酸鐵鋰僅能量密度有一定優勢,但其短板也很明顯,要替代磷酸鐵鋰,顯然磷酸錳鐵鋰還是要先克服諸多自身的缺點才可。
事實上,近期之所以大家突然開始討論磷酸錳酸鋰,主要是部分頭部材料企業,在這一塊有了新動作或新進展。
9月3日,德方納米公告稱,公司擬在曲靖經濟技術開發區建設“年產10萬噸新型磷酸鹽系正極材料生產基地項目”。根據公司專利,德方納米磷酸錳鐵鋰產品可能沿用其獨特的液相法工藝,產品性能在一致性、循環壽命方面會有優勢。業界推測,此次新投建的項目可能就是磷酸錳鐵鋰產品。
另外有消息稱,德方納米新型磷酸錳鐵鋰已開始送樣,預計1-2年后可實現產業化,疊加正極補鋰技術,該電池能量密度、循環壽命都有明顯提升。
此外,當升科技在2021年半年報中披露,公司正在針對電動車和高端儲能市場專項開發高性能的磷酸鐵鋰、磷酸錳鐵鋰材料。
今年8月,鵬欣資源發布公告稱,全資子公司鵬珈基金擬7500萬元對江蘇力泰鋰能科技有限公司進行增資。鵬欣資源方面表示,“此次增資主要看好力泰鋰能的研發能力和產業化能力,主要產品磷酸錳鐵鋰產品市場潛力巨大,具有較好的發展前景。
從磷酸鐵鋰、三元材料和磷酸錳鐵鋰幾種材料的性能特征來看,目前各自的應用場景較為明晰,但是彼此的短板也同樣清晰,磷酸錳鐵鋰目前憑借能量密度“勝于”磷酸鐵鋰,但是能否解決好其它短板,仍要看企業在這一領域的技術進展及發展研判。
